HP 3000 Manuals

On-line Backup Tapes [ STORE and TurboSTORE/iX Manual ] MPE/iX 5.0 Documentation


STORE and TurboSTORE/iX Manual

On-line Backup Tapes 

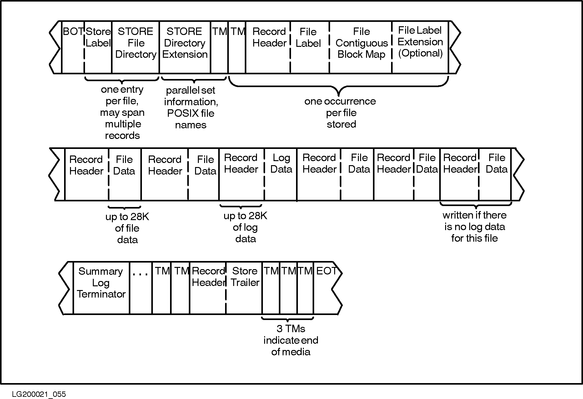
On-line backup tapes are similar to regular store tapes.  The only
difference is the addition of the log data associated with a file.
Figure C-3  illustrates the on-line backup tape format.

[]
Figure C-3. On-line Backup Tape Format


MPE/iX 5.0 Documentation