HP 3000 Manuals

Access Server Program Flow [ Information Access Server: System Management ] MPE/iX 5.0 Documentation


Information Access Server: System Management

Access Server Program Flow 

Access PC and Access Server use interprocess communication (IPC) to give
PC users access to host and remote data.

Datacomm Connections 

The PC-to-host connection can be either of two types:

   *   Using HP OfficeShare PC network software on the PC and HP
       OfficeShare LAN/3000 software on the host.


NOTE For the specific datacomm configurations Access Server supports in the HP OfficeShare PC networking environment, please contact your HP representative.
* Over an RS-232/422 hardwired, X.25, or modem connection using the basic serial software that is part of Information Access. This supports a direct connection to an Advanced Terminal Processor (ATP) on a Series 3X through 7X host or a Distributed Terminal Controller (DTC) on a Series 9XX host. Startup Sequence The various options available for starting the MPE session are described below and summarized in Table 1-1. (For information about access to Access Server for users running an MPE interface program such as HP Menu, see Chapter 12, "PC User Interaction with the Host HP 3000," in the Information Access Server: Database Administration manual.)
NOTE For basic serial connections, all PCs must be configured as terminal type 10 through the MPE configuration or by including ;TERM=10 in the logon command. Sessions initiated through the Remote Connection screen in Access PC are always started as terminal type 10. PC users with a modem connection to the host HP 3000 may need to be reminded of this.
* In an HP OfficeShare networking environment, an MPE session is established from the Remote Connection screen by choosing Remote Connect from the Main Menu in Access PC. Or, if the PC user chooses Remote Tables, Config Options and a remote configuration option, or a remote command file, the Remote Connection screen is automatically displayed to allow the user to establish the connection. * In a basic serial environment, PC users connected over a modem or X.25 connection can connect to MPE and obtain the colon prompt (in terminal mode or with a terminal emulator such as AdvanceLink) before starting Access PC, or create a connection file that can be invoked from the Remote Connection screen. These users can then log on from the Remote Connection screen by entering their logon string and passwords or the name of the connection file and its password. Basic serial connection files are command files that instruct the PC to perform each step of the connection process to log the user on or off the HP 3000 through a basic serial connection. (For more information, see the Using Basic Serial Connection Files manual.) PC users working over a hardwired basic serial RS-232/422 connection can establish the MPE session either before starting Access PC or from the Remote Connection screen in Access PC by entering their logon string and password. (When a user establishes the MPE session before starting Access PC, that session remains active after the user logs off Access PC.) They could also use a simple logon file to establish the session from the Remote Connection screen. Simple logon files contain the :HELLO command used with the users' logon string, and for HP OfficeShare, a SERVER command. In a basic serial environment, PC users may override their existing MPE sessions when they use the Remote Connection screen to start a new session. In an HP OfficeShare environment, a session created before starting Access PC (using a terminal emulator such as AdvanceLink) remains active. However, the session cannot be affected or controlled through Access PC.
NOTE When the host session is established from the PC, the MPE user identified in the logon sequence must have IA and SF capabilities in order to use Access Server. To use the Host Batch Facility, the MPE user must also have BA capability; saving result tables as saved tables, however, does not require BA capability. ND capability is needed to be able to create the spoolfile that would record any serious errors that might occur while the user is active.
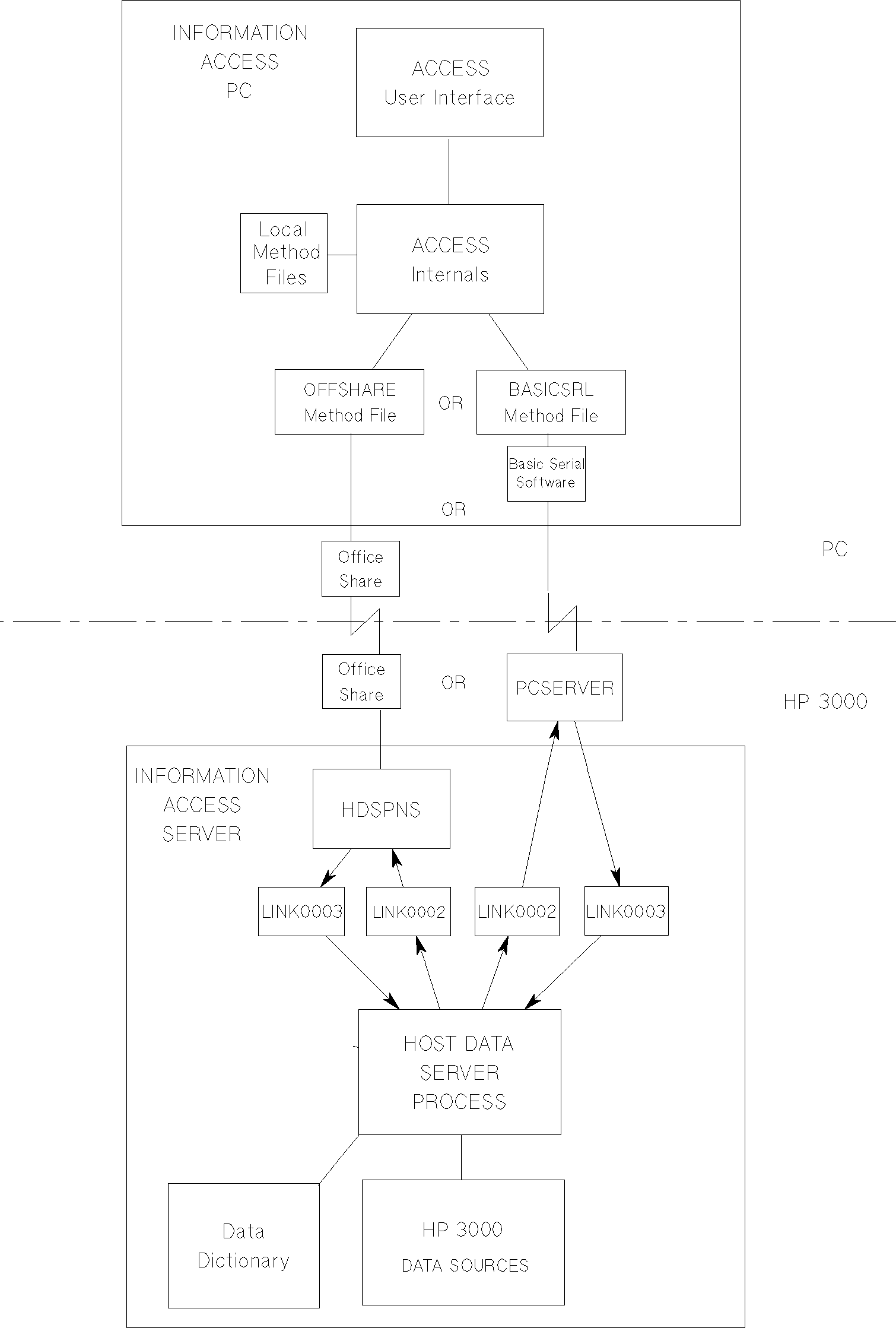
Table 1-1. Establishing MPE Sessions ----------------------------------------------------------------------------------------------------- | | | | | | | Network | Log on before | Type logon at the | Use connection | Use simple logon | | connection | running | Remote Connection | file at the | file from the | | | Information | screen | Remote Connection | Remote Connection | | | Access | | screen | screen | | | | | | | ----------------------------------------------------------------------------------------------------- | | | | | | | Basic serial | Yes | Yes, if | Yes. A previous | No | | modem, | | intermediate | session may be | | | multiplexer, or | | datacomm | terminated, or if | | | X.25 | | connection is | the connection | | | | | already | file is set to | | | | | established. | test for an | | | | | | existing session, | | | | | | the session can | | | | | | be continued | | | | | | without | | | | | | interruption. | | | | | | | | ----------------------------------------------------------------------------------------------------- | | | | | | | Basic serial | Yes | Yes. Any | Yes, but not | Yes | | hardwired | | previous session | usually | | | | | is automatically | necessary. A | | | | | terminated. | previous session | | | | | | can be terminated | | | | | | or continued | | | | | | without | | | | | | interruption, | | | | | | depending on the | | | | | | file commands. | | | | | | | | ----------------------------------------------------------------------------------------------------- | | | | | | | HP OfficeShare | No | Yes | No | Yes | | network | | | | | | | | | | | ----------------------------------------------------------------------------------------------------- The following startup sequence is followed each time a PC user starts Access Server: 1. The PC user runs Access PC and establishes an MPE session on the host HP 3000 at the Remote Connection screen, or a session is established before starting Access PC. 2. At the Remote Connection screen, the user enters an Access Server user name and password or names a connection file. 3. The user requests data via the Remote Tables function, and PC datacomm software sends the request to the host. 4. In a basic serial environment, a datacomm interface program (PCSERVER.PUB.SYS) is run on the host when the host receives the PC's first transmission. In an HP OfficeShare environment, the interface process HDSPNS.PPC.SYS is created when the user provides the information needed to start the MPE session. HDSPNS creates the session in response to the Access PC request for a session environment. It then adopts itself into the session. 5. The interface process (PCSERVER or HDSPNS) creates a "son" server process called the Host Data Server Process (HDSP.PPC.SYS). Figure 1-2 illustrates this PC-to-host interaction. The interface process also creates two temporary IPC files used during data transmission: * LINK0002 holds host-to-PC transmission data written by HDSP in response to PC requests. This data is stored until PCSERVER or HDSPNS reads it. * LINK0003 holds PC-to-host data written by PCSERVER or HDSPNS and stored until HDSP reads the requests.
[]
Figure 1-2. Access PC/Access Server Interaction 6. The HDSP checks the Access Server enable flag; if it is not set, the HDSP returns the following message to the PC: Information Access Server has not been made available to users (AC5018) The enable flag is set when you or the primary DBA use the UDC ENABLEAC or run the Administrator Utility with PARM=1 to make Access Server available to users. The user OPERATOR can also enable or disable Access Server (but cannot use any other functions in the Administrator Utility). For more information, see "Enabling Access Server" in Chapter 4, "Access Server Operations." If the flag is set and Access Server is available, the PC/host interface is complete.
NOTE This explanation of PC-to-host communication holds true for each PC logged on to Access Server. For each PC running Access Server, the following are created on the host: * An MPE session (unless an existing basic serial connection is used). * A PCSERVER process or an HDSPNS process. * Two IPC files called LINK0002 and LINK0003. * The Host Data Server Process (HDSP). * One or two spoolfiles for each user session. The spoolfile HDSPERR records serious errors with the HDSP server process; the spoolfile HDSPNSE records serious errors with the HDSPNS server process in the HP OfficeShare networking environment. If no errors occur, the spoolfile is deleted when the session terminates. If serious errors occur, a record of the error messages is written to the spoolfile.
Operation When the PC/host interface is complete, Access Server is ready to receive and process PC users' data requests. The Access PC/Access Server program flow is illustrated in Figure 1-3. Access Server decodes each request received, retrieves the requested data from the appropriate data source, formats it into tables, and returns it to the PC via the HDSP (and PCSERVER or HDSPNS) in data packets appropriate to the transaction type. * If the requested data resides on a remote HP 3000, the HDSP opens a datacomm connection (NS/3000) to that system. This connection remains open until the user exits from Information Access. Each time the user requests data from the remote HP 3000, the HDSP checks to see if the connection is still open. If it is not, the HDSP logically closes it and then reopens it. If the connection can't be reopened, the HDSP returns an error message to the PC. The PC receives the transmission and routes it to Access PC. The requested data is displayed on the PC screen. Co-processing is now initiated between Access PC and Access Server. The two applications operate interactively, transferring data between the PC and the host. Entries in the Information Access data dictionary are used to interpret and validate requests. The data is formatted into tables and returned to the PC via the HDSP and the server process.
[]
Figure 1-3. Access PC/Access Server Program Flow Termination When the PC user exits from Access PC, the server processes are no longer required. Both the HDSP and the server process for that PC are terminated (unless the host session was established prior to running Access PC).


MPE/iX 5.0 Documentation