HP 3000 Manuals

Ch 2. Configuring for SPU Switchover/XL [ SPU Switchover/XL User's Guide ] MPE/iX 5.0 Documentation


SPU Switchover/XL User's Guide

Chapter 2  Configuring for SPU Switchover/XL 

Your HP customer engineer will configure your hardware correctly.
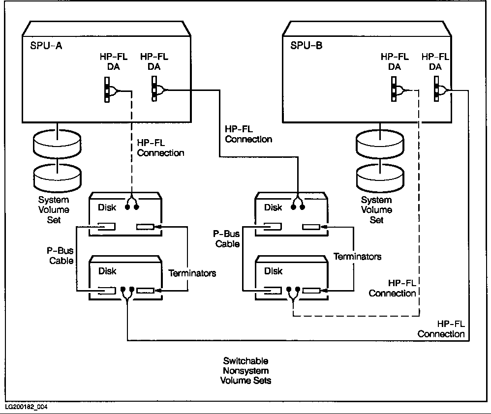
Refer to Figure 2-1  for a conceptual overview of the hardware
configuration.

[]
Figure 2-1. SPU Switchover/XL Hardware Configuration All groups in MPE XL reside on a home volume set. The home volume set specification indicates either the system volume set or a nonsystem volume set where the files of any given group are to be found. Nonsystem volume sets can be switched over to an alternate system. To do this, you need to configure the systems so that the designated applications can run on the alternate system when switched over. There are seven basic steps for configuration and initialization of SPU Switchover/XL: 1. Planning. 2. Identifying the systems for configuration. 3. Configuring the system names that are to be paired as alternates. 4. Configuring the volume sets to be available for switchover. 5. Creating the duplicate account structure on the alternate system. 6. Ensuring that your configuration is complete. 7. Activating the SPU Switchover/XL environment.


MPE/iX 5.0 Documentation