HP 3000 Manuals

Identifying Preprocessor Input [ ALLBASE/SQL C Application Programming Guide ] MPE/iX 5.0 Documentation


ALLBASE/SQL C Application Programming Guide

Identifying Preprocessor Input 

In the simplest case, illustrated earlier in Figure 1-1, the ALLBASE/SQL
C program consists of one source code file and, optionally, one or more
user include files; both the source code and the include files can
contain SQL commands.  The preprocessor merges any include files into the
source program, and preprocesses it.  The resulting modified source code
file is then compiled and linked in the same manner as a C program not
containing embedded SQL statements.  (Include files must either exist in
the current group or be specified with an account and group name.) 

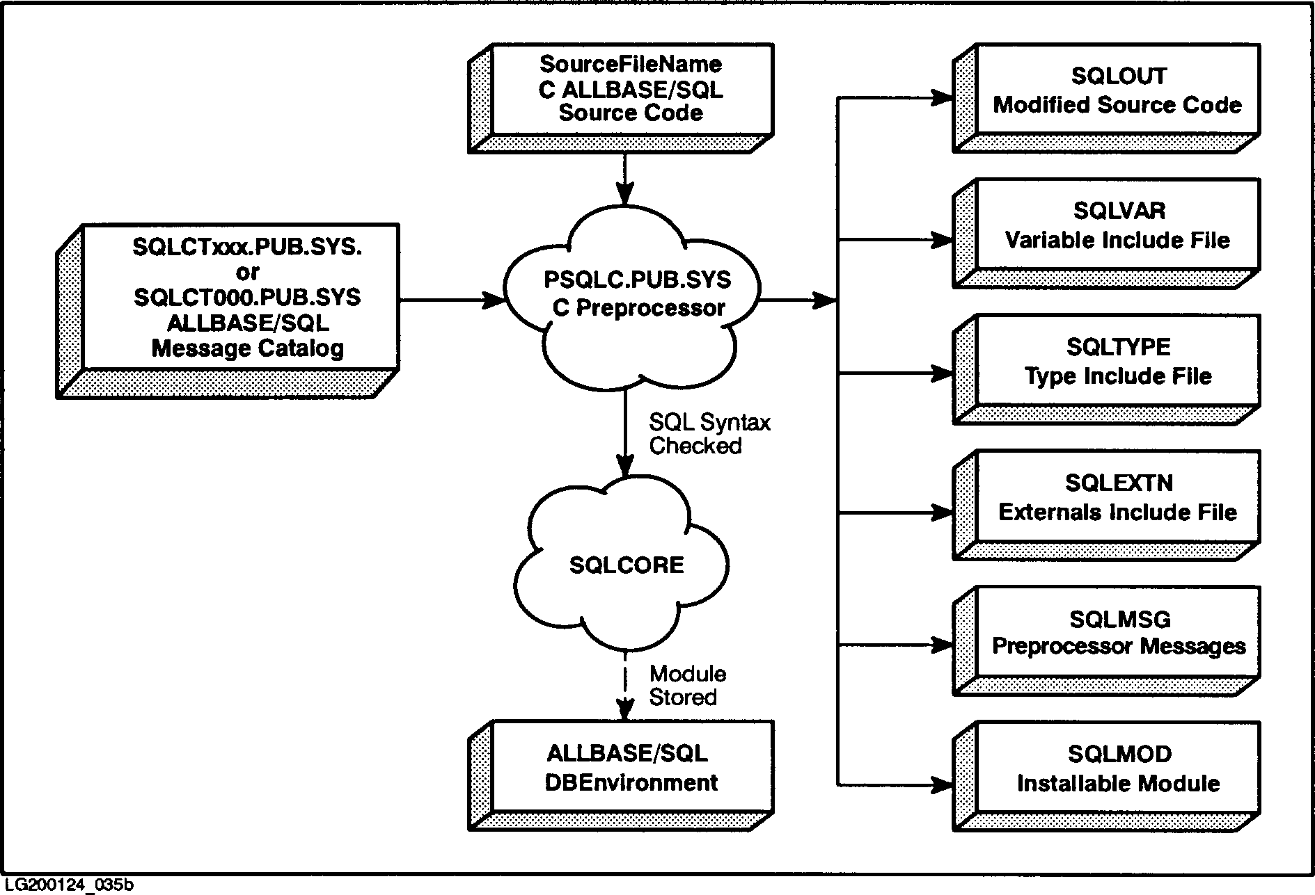
Regardless of the preprocessing mode you use, the source file and the
ALLBASE/SQL message catalog must be available when you invoke the C
preprocessor, as shown in Figure 2-5.

Source File 

The source file is a file containing the source code of the C ALLBASE/SQL
program with embedded SQL commands for one or more DBEnvironments.  The
default input filename is:

     SQLIN

An alternative name can be specified by using the DROP option in the
preprocessor command line, as explained earlier in this chapter.

When parsing the source file, the C preprocessor ignores most C
statements and C compiler directives in it.  Only the following
information is parsed by the C preprocessor:

   *   The C compiler directive, include.

   *   The source file name.  Unless you specify a module name in the
       preprocessor command line, the preprocessor uses the source file
       name as the name for the module it stores.  A module name can
       contain as many as 8 bytes and must follow the rules governing
       ALLBASE/SQL basic names (given in the ALLBASE/SQL Reference 
       Manual).

   *   Constructs found between the prefix EXEC SQL and the suffix ;.
       These constructs follow the rules given in Chapter 1 for how and
       where to embed these constructs.

   *   Constructs found between the BEGIN DECLARE SECTION and END DECLARE
       SECTION commands.  These commands delimit a declare section, which
       contains C data declarations for the host variables used in the
       program.  Host variables are described in Chapter 3.

ALLBASE/SQL Message Catalog 

The ALLBASE/SQL message catalog, contains preprocessor messages and
ALLBASE/SQL error and warning messages.  The fully qualified name for the
default message catalog is:

     SQLCT000.PUB.SYS

For native language users, the name of the catalog is:

     SQLCTxxx.PUB.SYS

where xxx is the numerical value for the current language.  If this
catalog is not available, ALLBASE/SQL issues a warning and uses the
default catalog instead.

When you run the preprocessor in full preprocessing mode, also ensure
that the DBEnvironment accessed by the program is available. 

[]
Figure 2-5. Full Preprocessing Mode Input and Output


MPE/iX 5.0 Documentation